text.skipToContent text.skipToNavigation
If you update your home branch it may affect items currently in your cart.
Conveniently pick-up your items from your branch
Business days are Monday through Friday
Same day pick-up available for some orders
Branch pick-up is always free
 
Pick-Up
Orders can be delivered directly to your location
Business days are Monday through Friday
Next day delivery available for most orders
Industry low delivery rates for all orders
 
Delivery
Most orders ship within the next business day
Business days are Monday through Friday
Shipments typically take 1-3 days of transit
 
Shipping

Bulk Material Calculator

Calculate by measurements or square feet?

What are the dimensions of your area?

feet
feet
feet
feet
feet
feet
feet

How many square feet?

square feet

How deep do you want your fill?

feet
We recommend ordering an additional 10% for a margin of error. It's always better to have a little extra than not enough.

Include an extra 10% for waste or extra

Calculated Sub Total:
10% Extra:
Total:
Rounds To:
Area:
Weight:
CUBIC YARDS
TOTAL
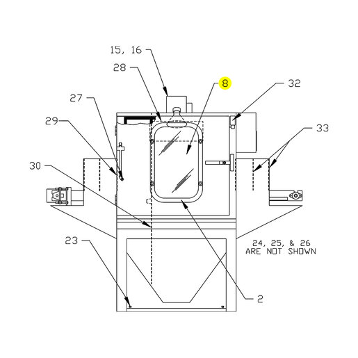
Specifications
Type

Window

Suitable For Use With

Pro-Finish Cabinets

Item

Protector

Dimensions

14 in. x 22 in.

Material

Plastic

Finish

Clear

Regulated
No
Brand Name

Empire Abrasive Equipment


Use of this site is subject to certain Terms and Conditions.Local branch prices may vary from those displayed and inventory levels cannot be guaranteed.